1.用途:箱體類零件和復雜曲面零件的加工。
2.功能:銑鏜、鉆、攻螺紋等。
因為它具有自動換刀功能,工件一次裝夾后,能自動地完成或者接近完成工件各面的所有加工工序。
3.分類:
(1)按結構形式可以分為:
1)立式加工中心
①坐標軸運動具有兩種方式:
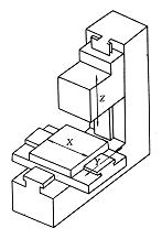
a.X、Y方向工作臺移動、Z方向主軸箱移動;圖5.2
b.動立柱加工中心:工作臺固定,X、Y和Z方向的運動由主軸立柱和主軸箱移動來實現。

圖5.2 立式加工中心運動軸示意圖

圖5.3 JCS-018A型立式加工中心外觀圖
1-X軸的直流伺服電動機 2-換刀機械手 3-數控柜 4-盤式刀庫 5-主軸箱
6-操作面板 7-驅動電源柜 8-工作臺 9-滑座 10-床身
②刀庫: (圖5.4)立式加工中心的刀庫有不同的形式,每種形式的刀庫可以容納的刀具數量差距較大,并在一定程度上決定了加工中心加工能力的大小。

圖5.4 刀庫 a b c d e f )盤式刀庫 g h I j) 鏈式刀庫 k)格子式刀庫
2)臥式加工中心
①臥式加工中心的刀庫一般為鏈式結構,刀庫容量較大。
②應用面更為廣泛,可加工扭曲面,箱體等復雜零件,例如水輪機葉輪的加工。

圖5.5 臥式加工中心
1-主軸頭 2-刀庫 3-立柱 4-立柱底座 5-工作臺 6-工作臺底座
3)立臥式加工中心
①立臥式加工中心——是利用銑頭的立臥轉換機構實現從立式加工方式轉換為臥式加工方式或從臥式加工方式轉換為立式加工方式。
②這種加工中心的加工適用面更為廣泛。

圖5.6 立臥式加工中心 5軸運動方向示意
a)主軸可做90° 旋轉 b) 工作臺帶工件可做90°旋轉
(2)按功能分類:
1)主軸形式:有單主軸、雙主軸或三主軸;
2)工作臺形式: 單工作臺
3)雙工作臺托盤交換系統
4)多工作臺托盤交換系統。
5)刀庫形式: 回轉式刀庫
6)鏈式刀庫
組成:數控系統、機體、主軸、進給系統、刀庫、換刀機構、操作面板、托盤交換系統(或工作臺)和輔助系統等。
2024-11
本文以組合式六角亭模型為實例,分析工藝難點與加工可行性,指出該模型的加工難點是模型形狀不規則和整體剛性差,并通過設計新的工藝方案解決加工難點,完成了模型整體的加工。新的加工工藝有助于提高加工效率和精度,為五軸數控加工提供了一個典型案例,對于五軸加工中心數控加工也具有指導作用和重要… [了解更多]
2024-11
宇匠數控 備注:為保證文章的完整度,本文核心內容由PDF格式顯示,如未有顯示請刷新或轉換瀏覽器嘗試,手機瀏覽可能無法正常使用!本文摘要:通過對混聯五軸加工中心自適應深度學習控制方法的 研 究,可 知 此 方 法 的 創 新 之 處 在 于:1)建 立 了 機 床 的 運 動 學 … [了解更多]
2024-11
在機測量技術由于其成本低、檢測效率高、無需二次裝夾等優勢被廣泛用于零件加工測量當中,使得五軸加工中心和五軸鉆攻中心,同時又兼具測量功能。在機測量系統的構成如圖1所示,硬件部分主要是由高精度探頭、信號接收器、機床整個本體,軟件部分由機床控制系統、測量軟件等組成[8]。待零件加工完成… [了解更多]
2024-11
?加工精度是影響機床性能和產品質量的主要難題,也是制約國家精密制造能力的重要因素。本文以五軸加工中心為對象,針對提升機床精度進行了研究。并且隨著科技的發展,精密的儀器和零件在生產實踐中占據的分量逐漸增加,在數控機床這種精密機器精度不斷提高的同時,必須控制內外界環境的隨機影響因素在… [了解更多]